Introduction
Reference page 28-30 from the Service and Repair Instructions linked under Documents on the Main Page.
Tools
-
-
Remove the lower part of the housing with a swiveling motion away to the side. Note the SOMNOcomfort series uses a shorter circuit board than the balance series ventilator. (pg. 23)
-
-
-
Remove the connector (X1) from the circuit board.
-
Pull the connecting cable (64) from its mount.
-
Now set aside the lower part of the housing. (pg. 23)
-
-
-
Next, how to close the compartment and reverse the process.
-
Hold the lower part of the housing to the upper part at an angle
-
Attach the connector (X1) to the main circuit board. When doing so the connector’s nub has to point towards the lock. (pg. 24)
-
-
-
Properly align the main circuit board inside the unit.
-
Attach the connecting cable (64) to its mount (pg. 24)
-
-
-
Place the lower part of the housing on the upper part (47). Please make sure the main circuit board (44) is aligned properly, and that the connecting cable (64) is not being squeezed anywhere. (pg. 24)
-
-
-
Remove the four screws (69) in the cover of the baffle box (60).
-
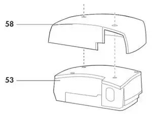
Remove the foam cover (58) and the cover of the baffle box (60).
-
-
-
Insert the fan into the motor frame and attach it using the motor mounts(54). Pull the motor mounts through the boreholes of the fan to reach the surrounding notch.
-
-
-
Apply a small amount of 70% Isopropanol solution on the decoupling tube’s(55) circumference and attach it to the box. The tube’s notch must completely lock into the bore hole rim.
-
-
-
Reconnect the two parts of the box. Pay attention to the proper alignment of the foam part (61) and the correct cable lead. The cable must be placed in the appropriate cut-out.
-
-
-
Insert Baffle Box. Place foam 58on the box, soft side up. You must be able to see the screw heads of the box through the holes in the foam
-
-
-
Pull the protective backing off the adhesive tape and stick on foam(59). Use the crosses as a positioning aid.
-
-
-
Apply a small amount of 70% Isopropanol solution on the decoupling tube’s (50) circumference and attach it to the box. The tube’s notch must completely lock into the bore hole rim.
-
To reassemble your device, follow these instructions in reverse order.