
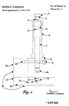
Parts
- Ocular lens - Magnifies the image form the objective lens 10x.
- Body tube - Houses (holds) the lenses and maintains the proper distance between the ocular lens and the objective lens.
- Coarse adjustment - Moves either the stage or body tube up and down for focusing on low power only (usually the larger of the 2 adjustment knobs).
- Fine adjustment knob - Used to sharpen the image of the specimen under high and low power (usually the smaller of the 2 adjustment knobs).
- Revolving nose piece - Spins to allow a change from one objective power to another.
- Objective lenses - Magnify the specimen/object being viewed.
- red: 4x yellow: 10x blue: 40x
- Arm - supports the body tube and connects the body tube to the base.
- Stage clip - (One of a pair of clamps) that hold the slide in place on the stage.
- Stage - Platform upon which the slide is placed for viewing.
- Diaphragm - regulates the amount of light that enters the body tube.
- Light Sources - collects and sends light rays upward through the diaphragm, stage, specimen, and body tube so the specimen can be seen.
- Base - Supports the microscope in an upright position.
Resources
This article is issued from Wikiversity. The text is licensed under Creative Commons - Attribution - Sharealike. Additional terms may apply for the media files.