Short answer: Autopilot is a feature of the Flight Management And Guidance System (FMGS), and in particular each of the two Flight Management And Guidance computers (FMGC) manage its autopilot.
Are the ELACs and SECs merely actuator controllers for the control
surfaces?
Correct, but they are reconfigurable in case of failure of one of the SEC, ELAC or FAC. In addition the ELACs are used to detect the excursion off the flight enveloppe (e.g. alpha prot). They inform the FMGC of such situations.
It seem that ELACs and SECs are autopilots themselves
No, AP is a separate function of the FMGC (and of the FAC).
FAC, ELAC, SEC are flight control computers, but are not equal.
FAC (Flight Augmentation Computer) in particular is devoted primarily to rudder control, and all the associated functions (e.g. yaw damper). It is a main component of the autoflight system.
Ailerons and elevators are directly controlled by the Flight Management and Guidance System (FMGS), which includes the autopilot.
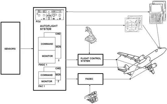
Autoflight system presentation by Airbus:
The auto flight system (AFS) installed on the aircraft is made up of
two types of computers :
- the flight management and guidance computer (FMGC)
- the flight augmentation computer (FAC)
and two types of control units :
- the flight control unit (FCU)
- the multipurpose control and display units (MCDU).
The functions of the FMGC are :
- autopilot (AP)
- flight director (FD)
- automatic thrust control (A/THR)
- flight management.
The functions of the FAC are:
- yaw damper
- rudder trim
- rudder travel limiting
- calculation of the characteristic speeds and flight envelope monitoring
- acquisition of the yaw AP order.
Redundant FMGS are divided in two functions: Command (issue commands to flight controllers) and Monitor (monitor the result of the commands, e.g. by analyzing air data and inertial data to detect anomalies).
The FMGS has different functions:
It uses the navigation database containing aerodromes, waypoints, navaids, procedures, etc, for the routing of the aircraft.
It takes into account aircraft performance data to manage the vertical aspects of the route.
It controls navaid receivers (VOR, DME, ILS, etc) and use navigational data.
It receives air data (from pitot, static pressure sensor, pitch angle probe) and inertial data.
It monitors the progress of the aircraft on the route programmed into the flight plan.
It issues flight guidance cues using the flight director indicators on the PFD.
It takes into account short term instructions entered by the crew using the FCU, and long term instructions entered using the MCDU.
It manages flight control laws and laws reconfiguration after controls failures.
It is coordinated with the Autothrust system which, with the FADEC, control fuel flow and engine thrust (FMGC is interfaced with ECUs/EECs).
The manual way of controlling the aircraft is:
FMGC gives instructions to the crew using the flight director cues and the yaw cue.
The pilot follows the cues with the controls (rudder pedals, side stick)
Pilot commands are taken into account by the flight control computers (FAC, SEC, ELAC) which determine the way control surfaces will be moved, possibly limiting the deflection ordered by the pilot to maintain the aircraft within its flight envelope.
FAC, SEC and ELAC orders are sent to respective actuator controllers.
Two notes on this transmission:
- There is a final control function on the actuator, to allow actuator redundancy for control surfaces, e.g. for elevators:
Each servojack has three control modes: Active: The jack position is
electrically-controlled, Damping: The jack follows surface movement,
Centering: The jack is hydraulically retained in the neutral position.
(Source)
- ELAC, SEC and FAC can be reconfigured according to law degradation status, the outputs of these FCC can be sent to different actuators, so the electrical circuit between an FCC output and an actuator input includes some switching circuitry.
Because of the two notes above, sending an electric order to the actuator doesn't mean the actuator will move the control surface, it depends on the current mode.
When the autopilot (AP) is engaged:
- The cues displayed by the FD and yaw indicators are converted directly into orders to the flight control computers. So AP is just automating what the pilot would have done when following the cues.
While in cruise only one AP can be engaged, landing may requires the two AP for automated approach and landing.
FMGS computer location

Source of all images: A320 family ATA-22 Autoflight Maintenance.