Why is the horizontal stabilizer forward of the vertical stabilizer on a P-51? Are there other airplanes that are like this?
-
Thank you to everyone who commented. I was thinking the placement was primarily due to maneuverability and spin recovery. But that also brings up the question “Why does it take the P-51 1.25 turns to recover from a spin?” – Rodger Jan 01 '18 at 19:42
2 Answers

(Source) Corsair top, P-51 bottom.
The noticeable difference above is the taller rudder of the P-51.
A taller rudder is needed for a shorter lever arm (distance between empennage and wing) and/or the need for more yaw authority.
And as @Gerry pointed out, another benefit of having part of the rudder below the elevator line is for spin recovery when the horizontal stabilizer is stalled and sending its wake upwards. The alternative is like the Corsair, with the rudder ahead and clear of the horizontal stabilizer.
Is it unique? No, a Cessna is shown below:
Related: How many versions of the P-51 dorsal fin fillet are documented?
-
The size the vertical fin isn’t going to be dependent on where the tailplane is placed on the design. It would be important as far as the center of pressure for lift is concerned to maintain stability of the aircraft while minimizing the length of the aft fuselage and the size of the tail plane. Having a tailplane moved around a little bit of a Band-Aid for bad airplane design like in these cases. On the other hand, having an aft mounted tailplane would provide a little bit better rudder authority As the tail plane creates turbulent air off it’s trailing edge. – Romeo_4808N Dec 30 '17 at 19:36
-
2Another consideration in the relative placement of the vertical and horizontal stabs is ensuring adequate rudder authority when in a stall/spin attitude. Often in a spin, the horizontal tail is stalled and creating a wake moving up and aft. If the rudder is entirely within that area there will be insufficient rudder control to recover from the spin. The Corsair moved the vertical tail forward to clear the wake. The P-51 and the Cessna moved it aft and extended the rudder down below the horizontal tail. – Gerry Dec 31 '17 at 02:43
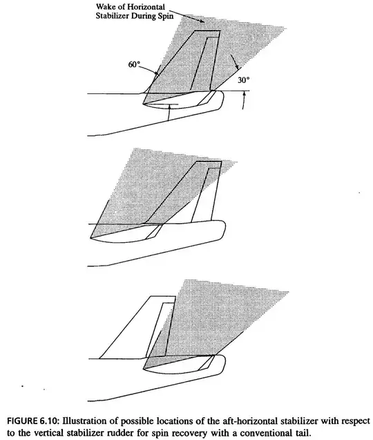
The primary factor affecting the longitudinal placement of the vertical stabilizer is yaw authority in a spin. From Corke, here is a relevant diagram and description:
As illustrated in Figure 6.10 for a conventional tail, the vertical stabilizer is caught in the wake of the horizontal stabilizer during an uncontrolled spin. This makes the rudder ineffective. The solution for a conventional tail design is to move the horizontal stabilizer either forward or aft of the vertical stabilizer position.
Why did the P-51's designers go with the aft position? It's hard to say given the myriad trade-offs inherent in any aircraft design and without an authoritative source, but as ymb1 points out, yaw authority outside of a spin is likely the answer. The P-51 was designed for maneuverability, so being a relatively small airplane it was beneficial to get as much rudder area and lever arm as possible out of the design.
As far as other aircraft go, it's a matter of how similar you think should qualify. The P-36 and P-40 use a somewhat analogous configuration (and indeed the P-51 was designed with their mission in mind), the A6M (Zero) has an aft tail but without the extended rudder, ymb1 mentions the Cessna 162, a couple of the Zenith airplanes come close, and I'm sure there are more.
- 3,357
- 1
- 16
- 38

