Airbus prefers simpler single-slotted flaps, which offer a weight advantage, but require higher-lift wing, which in turn slows the cruise speed. This is covered in a paper by an Airbus engineer, which I've used to answer a question about why the Airbus wide-bodies use different flaps when compared to the competition.
The single-slotted flaps are usually thicker as well, which in turn lead to thinner spoilers (so both can fit when retracted). Here's what the paper says:
However, the reduction of the spoiler thickness increases the deformation tendency of the spoiler and the necessary higher stiffness would then result in higher weight of the spoiler parts.
The inboard flaps/wing generate more lift because the wing is thicker there, and the flaps are generally longer there. Which in turn is more suction behind the inboard [thin] spoilers. So a solution is to decrease the inboard deflection angle.
In comparison, this question about the 777 spoilers, shows that for all but one panel on each side, the deflection is uniform. This is a deductive answer. So kindly keep that in mind.
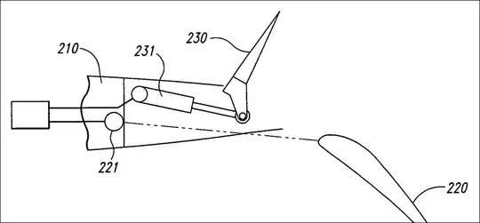
The following side drawing from an unrelated patent may help visualize the interaction better:
