Does a neutral dimercury molecule ($\ce{Hg2}$) exist? Simple answer is yes. But when I look at the answers given so far, a simple answer might not be good enough without giving some evidence. So, I decided to dig into the question a little deeper. I'm not a physical chemist, but can't resist the data I have seen in review and research articles for this subject so far. Thus, I’d like to share it with the community:
It is a fact as M. D. Morse (Ref.1) pointed out that, dimercury, $\ce{Hg2}$, was the first of the transition-metal molecules to be investigated, albeit $\ce{Hg2}$ is amongst the most weakly bound of the transition-metal dimers (In truth, most physical chemists found the weak attractive potential of the $\ce{Hg2}$ dimer was found to be a much harder problem in different computational approaches, e.g., Ref.2). The dissociation energy $\left(\mathrm {D^0_0} (\ce{Hg2})\right)$ estimations were first obtained by Franck and Grotian in 1922 (Ref.3) by monitoring the temperature dependence of the absorptions associated with $\ce{Hg2}$. This measurement has been repeated by numerous workers throughout the years, and an agreeable range of $\left(\mathrm {D^0_0} (\ce{Hg2})\right)$, $\pu {0.055 \lt D^0_{0} \lt 0.07 eV}$, has been obtained by 1977 (Ref.1). Then, using a third-law expression, Kuhn (Ref.4 & 5) has calculated the range of $\left(\mathrm {D^0_0} (\ce{Hg2})\right)$ as $\pu {0.065 \le D^0_{0} \le 0.091 eV}$. It is also noteworthy that some have investigated the interatomic potential in $\ce{Hg2}$ by gas-phase viscosity studies and all of them have provided $D_e$ in the range of $\pu{0.068-0.134 eV}$. In 1995, Fry and coworkers have proposed an experimental realization of Bohm’s spin-$\frac12$ particle version of the Einstein-Podolsky-Rosen experiment (Ref.6). They have used $\pu{350 cm^{-1}}$ ($\pu{0.0434 eV}$) for $D_e$ to calculate other parameters such as bond distance $r_e$ (3.63 Å), harmonic frequency $\omega_e$ ($\pu{18.5 cm^{-1}}$), anharmonicity constant $\omega_ex_e$ ($\pu{0.27 cm^{-1}}$), and rotational constant $B_e$ ($\pu{0.0127 cm^{−1}}$), using measured spectroscopic data for the $\mathrm{X0^+_g \leftarrow ^1\Sigma^+_g}$ transition. Also, they have calculated the same set of parameters in addition to the vibrational-rotational coupling constant $\alpha_e$ (in $\pu{cm^{−1}}$), for the $\mathrm{D1_u \leftarrow ^{3}\Sigma^+_u}$ transition as well.
Recently, a systematic analysis of the rotational structure in the (57, 0) band of the $\mathrm{D1_u \leftarrow X0^+_g}$ transition in $\ce{^{A_1}Hg^{A_2}Hg}$ molecule (where $A_1$ and $A_2$ are mass numbers of seven stable isotopes of natural abundance $\ce{Hg}$) is presented by Koperski and coworkers (Ref.7). It is very notable work because their goal was to examine the structure without any limitations and simplifications that were assumed in previous works of others. They also wanted to improve the rotational constants and bond lengths of the two electronic states involved in the transition.
In this work, a free-jet expansion beam of $\ce{Hg2}$ was produced in a vacuum chamber evacuated by an oil-diffusion pump backed by a mechanical pump. The molecules in the supersonic beam were then irradiated with a laser beam and optical date were recorded. The abundance of the seven stable $\ce{^{A}Hg}$ isotopes present in natural mercury are $\ce{^{196}Hg}$ (0.15%), $\ce{^{198}Hg}$ (9.97%), $\ce{^{199}Hg}$ (16.87%), $\ce{^{200}Hg}$ (23.10%), $\ce{^{201}Hg}$ (13.18%), $\ce{^{202}Hg}$ (29.86%), and $\ce{^{204}Hg}$ (6.87%) Wikipedia. If all of these isotope have contributed to make dimers, then the resulting dimers would consist of 28 isotopomers with 15 distinct total mass numbers. The following Figure presents details of the (57, 0) vibrational band recorded with a low laser resolution (i.e., without the intracavity etalon). The total isotopic composition of the (57, 0) band consists of only twelve components of theoretical 15, which were sufficiently abundant to be observed in the experiment (Ref.7):

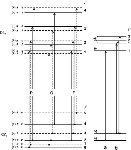
It is also noteworthy that this experiment can explain antisymmetric rotational levels, which do not exist for homonuclear isotopomers such as $\ce{^{199}Hg^{199}Hg}$ with zero nuclear spin ($I_1 = I_2 = 0$) that has been proposed previously (Ref.6). Following schematic energy level diagram shows rotational levels in the $\mathrm{X0^+_g}$ and $\mathrm{D1_u }$ states in $\ce{^{A_1}Hg^{A_2}Hg}$ molecule, including their symmetries and the transitions between them forming the R, Q and P branches. Broken lines represent antisymmetric rotational levels, which do not exist for homonuclear isotopomers (where $A_1 = A_2$) with zero nuclear spin (vide supra):

Finally, Table 1 below summarizes the spectroscopic constants for the $\ce{Hg}$ dimer, as compared to known experimental data and most recent theoretical calculations obtained at different theoretical levels. Most of theoretical calculations are done in Ref.8 and reliable experimental data so far published in literature are as indicated in the Table foot notes, which are through 2010 (Ref.8):

References:
- Michael D. Morse, “Clusters of transition-metal atoms,” Chem. Rev. 1986, 86(6), 1049–1109 (DOI: 10.1021/cr00076a005).
- P. Schwerdtfeger, J. Li, P. Pyykkö, “The polarisability of Hg and the ground-state interaction potential of $\ce{Hg2}$*,” Theoretica Chimica Acta 1994, 87(4-5), 313-320 (https://doi.org/10.1007/BF01113387).
- J. Franck, W. Grotian, Z. Techn. Phys. 1922, 3, 194 (Reference 323 in Ref.1).
- H. Kuhn, “Pressure Broadening of Spectral Lines and van der Waals Forces I—Influence of Argon on the Mercury Resonance Line,” Proc. R. Soc. London. Ser. A – Math. Phys. Sci. 1937, 158(893), 212-229 (https://doi.org/10.1098/rspa.1937.0015).
- H. Kuhn, “Pressure Broadening of Spectral Lines and van der Waals Forces II—Continuous Broadening and Discrete Bands in Pure Mercury Vapour,” Proc. R. Soc. London. Ser. A – Math. Phys. Sci. 1937, 158(893), 230-241 (https://doi.org/10.1098/rspa.1937.0016).
- E. S. Fry, T. Walther, S. Li “Proposal for a loophole-free test of the Bell inequalities,” Phys. Rev. A 1995, 52(6), 4381-4395 (https://journals.aps.org/pra/pdf/10.1103/PhysRevA.52.4381).
- J. Koperski, X. Qu, H. Meng, R. Kenefick, E. S. Fry, “Rotational analysis of the (57, 0) band of the $\mathrm{D1_u \leftarrow X0^+_g}$ triplet–singlet transition in $\ce{Hg2}$ produced in a free-jet expansion beam,” Chem. Phys. 2008, 348(1-3), 103-112 (https://doi.org/10.1016/j.chemphys.2008.02.035).
- E. Pahl, D. Figgen, C. Thierfelder, K. A. Peterson, F. Calvo, P. Schwerdtfeger, “A highly accurate potential energy curve for the mercury dimer,” J. Chem. Phys. 2010, 132(11), 114301 (6 pages) (https://doi.org/10.1063/1.3354976).
- J. Koperski, J. B. Atkinson, L. Krause, “Molecular beam spectroscopy of the $1_u(6^3P_2)~- X0^+_g$ and $1_u(6^3P_1)~- X0^+_g$ transitions in $\ce{Hg2}$,” Canadian Journal of Physics 1994, 72(11-12), 1070-1077 (https://doi.org/10.1139/p94-139).
- J. Koperski, J. B. Atkinson, L. Krause, “The $G0^+_u (6^1P_1)~- X0^+_g$ Excitation and Fluorescence Spectra of $\ce{Hg2}$ Excited in a Supersonic Jet,” Journal of Molecular Spectroscopy 1997, 184(2), 300-308 (https://doi.org/10.1006/jmsp.1997.7345).
- R. D. van Zee, S. C. Blankespoor, T. S. Zwier, “Direct spectroscopic determination of the $\ce{Hg2}$ bond length and an analysis of the $\pu{2540 Å}$ band,” J. Chem. Phys. 1988, 88(8), 4650-4654 (https://doi.org/10.1063/1.453777).
- J. N. Greif-Wüstenbecker, Ph.D. thesis, Philipps University, Marburg, Germany, 2000 (Reference 28 in Ref.8).
- P. Schwerdtfeger, R. Wesendrup, G. E. Moyano, A. J. Sadlej, J. Greif, F. Hensel, “The potential energy curve and dipole polarizability tensor of mercury dimer,” J. Chem. Phys. 2001, 115(16), 7401-7412 (https://doi.org/10.1063/1.1402163).
- P. Schwerdtfeger, R. Wesendrup, G. E. Moyano, “Erratum: ‘The potential energy curve and dipole polarizability tensor of mercury dimer’ [J. Chem. Phys. 115, 7401 (2001)],” J. Chem. Phys. 2002, 117(14), 6881 (https://doi.org/10.1063/1.1507115).
- V. Lukeš, M. Ilčin, V. Laurinc, S. Biskupič, “On the structure and physical origin of van der Waals interaction in zinc, cadmium and mercury dimers,” Chem. Phys. Lett. 2006, 424(1-3), 199-203 (https://doi.org/10.1016/j.cplett.2006.04.002).
- K. A. Peterson, C. Puzzarini, “Systematically convergent basis sets for transition metals. II. Pseudopotential-based correlation consistent basis sets for the group 11 $(\ce{Cu, Ag, Au})$ and 12 $(\ce{Zn, Cd, Hg})$ elements,” Theoretical Chemistry Accounts 2005, 114(4-54), 283-296 (https://link.springer.com/article/10.1007/s00214-005-0681-9).