5

Our microwave has developed a problem. If the door isn't shut just so, the microwave thinks that it is open. The door can be shut too lightly or too hard to exhibit the problem. Recently it has began to pause right in the middle of cooking because it thinks the door has suddenly opened when it is still shut tightly.

From what I've read, the problem is likely with the "door interlock", a kind of sensor (or multiple sensors) that let the microwave know when the door is open or closed.

How do these sensors work, and is it possible to fix them yourself? (I don't mind taking things apart.)

The specific microwave in question is a GE Profile PVM1790 over the range model.

wallyk
  • 12,339
  • 3
  • 23
  • 50
Stephen Ostermiller
  • 1,267
  • 9
  • 22
  • 40

8 Answers8

9

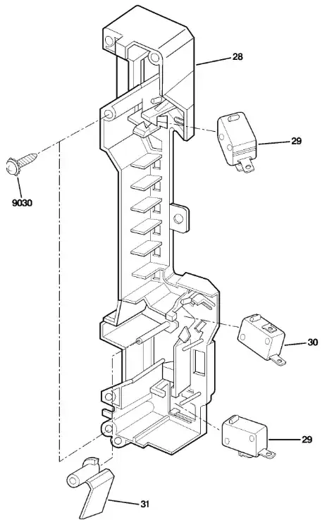
This particular model has three microswitches to detect the door being fully closed. enter image description here

If any one of them are loose or defective, it would cause the symptoms you experience. Each switch is pricey at $30 from GE or $23 from Amazon but there are many low priced sources (see comments below), so I would open up the appliance and have a look to see if a wire has come loose, or a switch is no longer seated properly. With it open, you should also be able to trigger the switch and see if it sounds like it is working correctly. With this type of switch, listening to it can successfully diagnose them 90% of the time.

If all the switches seems mechanically okay, then bust out a DMM and use the ohmmeter to see which one is not remaining closed when toggled.

wallyk
  • 12,339
  • 3
  • 23
  • 50
  • 2
    If you are paying $30 each for microswitches, I have a bridge to sell you. – Ecnerwal Nov 14 '13 at 17:15
  • @Ecnerwal: quite right. I thought I got the price off a competitive parts website, but it is in fact GE's own parts pricing. Amazon has it for $23; I added a link. Do you know of better pricing? – wallyk Nov 14 '13 at 17:16
  • 2
    https://www.sparkfun.com/products/9506 https://www.sparkfun.com/products/9414 $1.50 + shipping – Jason Nov 14 '13 at 17:26
  • Try mouser.com, though you may have to check the exact size and ignore the terminals that would be cut off a "standard GE Part" that would be present on the 56-cent to $3 part you can buy from any electrical supplier. They are pretty standardized. – Ecnerwal Nov 14 '13 at 17:28
  • RadioShack has them from 4.04 - 6.92 USD but show as web only from RadioShack.com – Jason Nov 14 '13 at 17:31
  • Ignore the rollers or levels on them too. I have some at home I may be able to include some pictures on how to remove the extra pieces tonight. – Jason Nov 14 '13 at 17:32
  • @Jason: "levels" maybe should be "levers"? – wallyk Nov 14 '13 at 17:37
  • 2
    @wallyk indeed, Spell check doesn't work when I just type a different word. – Jason Nov 14 '13 at 18:08
6

The door interlock circuit is typically at least 3 microswitches which have to close/open in a specific sequence and arrive at a specific end-configuraton to convince the controller that the door was actually closed properly, rather than a crude attempt at bypassing the switches being made.

The switches themselves are normally very reliable (they are one of the nearly always salvageable parts of dead microwave ovens) but if the door-latch has worn or broken it may not contact them correctly.

In short, I suspect the sensors (switches) are probably fine, but the mechanical parts that actuate them are more likely to be the problem.

As for testing the switches, just check for continuity - the NO contact should be not connected until the switch is pressed, the NC contact should be connected until the switch is pressed, and both should change to the other condition when the switch is pressed. Pay attention to what wires are connected and where the switches are - it's typical for a contact to be cut off if not used, and which switch goes where (and which wires connect to it, where) are important for the whole business working correctly.

Ecnerwal
  • 213,340
  • 10
  • 261
  • 571
4

I haven't looked up your specific model but every modern microwave I've taken apart has used a micro switch, they're so commonly used that people refer to them as microwave switches now.

enter image description here enter image description here

They come in a few different configurations and sizes but only cost a few bucks, you can find them anywhere from RadioShack, Sparkfun, Mouser, Digikey, etc. I'd take a look inside the microwave before ordering but should be a fairly easy DIY if the switch is gone. If the place where the switch mounts is broken or the plastic pushing it is broken you may need to buy an manufacturer part at that point.

Jason
  • 2,051
  • 1
  • 12
  • 15
3

Another thing worth considering is the actual physical latches are not interlocking properly when the door is closed. I previously had a microwave, although only about 3 years old, one of the plastic arms which interlocked with the door frame and onto the sensor had actually warped (not melted).

I also couldn't see this clearly because the latch itself looked OK from the outside, it just didn't seem to latch on properly. When I removed the outer cover of the door I could see the plastic had warped from strain.

To replace the plastic piece it only cost me $4 from memory and was a quick fix (although it took about 2 weeks for them to ship me the part). 5 years later it is still working without issue.

EDIT: It just struck my memory, that it wasn't one of the door latches, but one of the plastic arms attached to the button which opens the door. So you should check the mechanism attached to the button is not preventing the door from closing properly as well as the latches on the door.

going
  • 281
  • 1
  • 2
  • 6
3

Do test your switches with meter.


Besides mechanical malfunctions like a misaligned door or switch, the contacts in these switches can be subject to internal arcing and burning which can leave deposits that interfere with good conductivity through the contacts. This can make a set of "closed" contacts appear "open". You may notice your microwave light flickering after closing the door, instead of going out as expected, along with flaky operation, e.g. complaints from the control panel about the door being open when it is physically shut. A weak spring (internal to the switch) can be the cause of the arcing (contacts open too slowly instead of snapping open, which allows the arc.) So, I realize the OP has already found his/her answer, but I had a very similar issue today and found a set of burnt contacts inside the switch, after testing the switch with my meter. I filed the contacts flat and clean, and reassembled the micro-switch, and retested. Note that I don't consider this a permanent fix (because the spring was probably weak, contacts are marginal, and problem may recur over time) and I have ordered a replacement switch. This answer won't help the OP, but may be helpful to someone else. I don't recommend fiddling with the switches internally as I did, but replacing door switches on a microwave oven can be done safely by a reasonably skilled person who is aware of the potential electrical hazards involved. Replace parts with absolutely equivalent parts. Above all, work safely.

JPC
  • 51
  • 1
  • 1
    This has been my experience - I've replaced one of the switches in our microwave about 3 times in the past 20 years. Every time the contacts are damaged or corrupted by arcing. – CoAstroGeek Dec 14 '15 at 16:03
2

The reason for the interlock is to prevent operation of the microwave and the resulting generation of microwave radiation while the door is open. I would not risk trying to adjust, repair or bypass the switch. If you misadjust the switch the unit may start with the door not completely sealed. Since most homeowners don't have a microwave detector with which measure the seal quality it is risky at best.

mikes
  • 11,325
  • 1
  • 20
  • 31
  • 2
    I agree to not bypass or jury rig it, but you still have a decent chance of properly fixing it. – Jason Nov 14 '13 at 17:04
2

This morning I was all set to take the microwave apart and see what was wrong. I was preparing to unscrew the microwave from the cabinet above when I noticed that those screws were not tight. They have loosened so much that the microwave was hanging about a quarter of an inch below the cabinet.

This caused the entire microwave to deform. It was evidently deformed enough that the switches for the door no longer lined up properly all the time. With the door closed, I was able to raise and lower the front of the microwave to get it to turn on and off.

Rather than take the whole microwave apart, I simply tightened the three screws that attach the microwave to the cabinet above. Once I did that, the door sensors seem to work much better.

This explains why the problem had gotten worse over time. The screws have taken a while to come this loose.

There were many helpful responses to this question that convinced me to go ahead and try a repair on my own and showed me how the interlock works. Thank you all!

Stephen Ostermiller
  • 1,267
  • 9
  • 22
  • 40
1

The upper switch, as shown above, may be ruined by high voltage if the oven is opened while in operation. Always wait for the oven to stop on its own or turn it off manually before opening the door. This problem is common in GE models as well as some others.

C. Stuart
  • 11
  • 1
  • How true is C. Staurts comment above? –  Jan 01 '16 at 23:32
  • Have just gone through a complete disassembly of my MW to find why is it not heating. Found the top micro-switch with burned contact (by arcing) with the plastic housing over the spade melted. GE model (many MW internals look similar and use similar parts). A photo in Amazon feedback on replacement micro-switch shows exactly the same burn also on the top one, so it's got to be somewhat common. – Astrogator Aug 10 '22 at 03:26