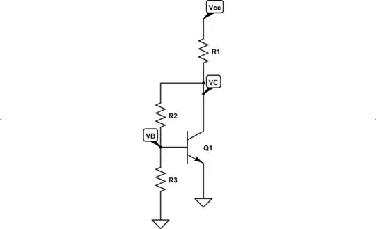
This is a quick drawing of a circuit that I am trying to analyze. Basically, I want to know how to go about finding the collector current, to start. Is it possible to create a Thevenin equivalent circuit for the resistors in this model? If not, how do I start on finding the voltages?
-
Are you sure the 100 kohm resistor is supposed to be connected to the output node and not to Vcc? – The Photon Oct 31 '20 at 23:50
-
Not that I know of. I think that would make the circuit easier to analyze for sure, though. – Hulk Remade Nov 01 '20 at 00:15
4 Answers
Approach
There is a schematic editor and you should use it. It makes things a little easier for the rest of us. Here's your schematic:

simulate this circuit – Schematic created using CircuitLab
From your problem statement, you already know that \$V_\text{B}=500\:\text{mV}\$ and \$\beta=50\$. You also know all three resistor values and \$V_\text{CC}\$. So in this case there are only two unknowns to solve for.
From KCL, find:
$$\begin{align*} \frac{V_\text{B}}{R_2}+\frac{V_\text{B}}{R_3}+\frac{I_\text{C}}{\beta} &= \frac{V_\text{C}}{R_2}\\\\ \frac{V_\text{C}}{R_1}+\frac{V_\text{C}}{R_2}+I_\text{C} &=\frac{V_\text{CC}}{R_1}+\frac{V_\text{B}}{R_2} \end{align*}$$
Just solve those for \$V_\text{C}\$ and \$I_\text{C}\$.
An Answer to Even Numbered Problems For Self-Education ;)
Enough time has gone by and I'll provide some thoughts and an answer for those in future times just reading for self-education.
I highly recommend acquiring and becoming familiar with at least one, and maybe two, software tools to aid in simultaneous solutions. But not before learning how to solve both two- and three-equation simultaneous linear equations, by hand. There will be times when you have just two or three equations for which you want an answer and where computers and software just aren't handy. It's worth a little practice so that you can handle those with just a little bit of paper and a pen/pencil (or just some smooth area of sand or dirt, even.) Never let easy software availability stop you from educating yourself (for a few common situations, anyway.)
For just two equations and two unknowns, it's usually pretty simple to work out, by hand, if all you know is algebra manipulation. For three equations and three unknowns (or more), then for hand-work you will want to know how to use Cramer's Rule, as well. It's not efficient for a computer, but it is very easy to apply by hand (once you get the idea stuffed in mind.)
So I highly recommend feeling comfortable working two equations and two unknowns, as well as applying Cramer's Rule for three equations and three unknowns, by hand. Once that is mastered (or, at least, sufficiently practiced where, if forced to it, you could get by), then I think the use of software to solve these problems should be used every time, all the time, when a computer is available. It just saves a lot of time and avoids mistakes that all of us make. Computers are really good at not forgetting and not making basic mistakes like a wrong sign -- they get that stuff right every time.
For software, I recommend sympy and sage. They are free tools and very powerful. With that combination, you can solve things both numerically as well as symbolically. There is a learning hurdle involved, like with any software. But you don't need to know everything about them to make use of them for simultaneous equations.
Using sympy for a symbolic solution, I need declare some symbols for the above equations. So, I just write:
var('ic beta vcc vc vb r1 r2 r3')
That tells the software that I'll be using those names in what follows.
Then I write out the two equations:
eq1 = Eq( vb/r2 + vb/r3 + ic/beta , vc/r2 )
eq2 = Eq( vc/r1 + vc/r2 + ic , vcc/r1 + vb/r2 )
Simple inspection shows they match my earlier equations.
Then I just ask it to solve this for me:
ans = solve( [eq1, eq2] , [ic, vc] )
At this point, I could just print out ans and get the symbolic equations that resulted from the solution. But it's not necessary. I want the numerical results. Here, I will need to supply the values for those earlier variables. But that's easy:
for x in ans: x, ans[x].subs({r1:10e3, r2:100e3, r3:33e3, vcc:10, beta:50, vb:.5})
(ic, 0.000642076502732240)
(vc, 3.29930452061600)
Without sympy, but using SageMath instead, you don't get fully symbolic solutions. But you can get numeric ones. In this case, you'd just write out the equations with the known values filled in:
var('ic vc')
eq1 = .5/100e3 + .5/33e3 + ic/50 == vc/100e3
eq2 = vc/10e3 + vc/100e3 + ic == 10/10e3 + .5/100e3
solve( [eq1, eq2] , ic, vc )
[[ic == (47/73200), vc == (13283/4026)]]
In this case, you get the exact fraction result instead of a decimal value.
These software tools are easily worth their weight. You still need to know how to set up the equations, correctly. Nothing fixes ignorance. But if you can develop the equations properly, learning just the tiny bits required use these tools is well-worth the modest effort.
- 77,876
- 6
- 77
- 188
-
a nice concise solution @jonk with simpy for Vc=3.3 was pretty close to my mental calculation of 3.6V using vb=0.58 whereas you used .5 Tolerances on hFE and far greater than resistors but this design can be improved with a fixed source Rs added so as not to have the inaccuracies excluded for AC gain, not asked. – Tony Stewart EE75 Nov 02 '20 at 00:06
This is one of the preferred ways to design a Common Emitter with feedback.
When you desire a Vc=Vcc/2 you get 0.5mA. A universal constant for BJT’s is 0.6V @ Ic=1mA so Vbe will be slightly less, say 0.58V ( guesstimate)
But simply using 0.6V you can get a simple voltage divider for Vbe with 33k/(33k+100k) x 5V = 1.24V the Thevenin equivalent voltage open loop then Req= 100k//33k= ~ 25k so the base current = 1.24-0.6V/ 25k~ 26uA and Ic=50 x 26uA= 1.3mA. (Ignoring Vcc and closed loop)
This tells you your initial assumption is wrong at Vc=Vcc/2 so you can iterate or change Rc to a lower value to get 5V or use a more lengthy rigorous KVL calculations.
however it is worth noticing that in a Negative feedback mode the source impedance would be likely a capacitor whose impedance at f is known and with the low hFE you might get half of the ratio of Rf/Zc(f) =Av so the prudent concept is to use a series Rs of desired Av*2=Rf/Rs
So for Av=100 choose Rs and add a large cap and Rs=1k/2 Ohms which adds to Zc(f) as a HPF and the ratio of 200 gives a gain near 93 and Vc ~ 3.6V but I’ll let you do your homework.
However choosing. Gain >200, is pushing it and source impedance comes into play for a small signal source and is unlikely to be that low. You might get >200 with a 0 ohm voltage source or may a 50 Ohm gen but preamps are often higher source Z. So keep that in mind with a Negative feedback circuit. To
if you balance the Vce to mid-scale you can almost get full scale undistorted output ,save Vce(sat) which depends on Ic! This make the primitive H bias or simple half H common emitter amplifier obsolete except for apps that demand very high input impedance as the input impedance is reduced by the feedback gain.
achieve with low hFE but you may get close a gain of half of this ratio or 100 with excellent low THD. (Within 10%)
This is my method of doing it in my head, but your Prof may want you to use the rigorous method, which is a bit useless since hFE tolerances are about 50%.
Although I digress, when you increase the collector current reducing Rc=10k to say 7k, Vbe rises to 0.6V and the open loop gain of Rc/rbe reduces and then your Rf/Rin ratio drops to about 1/2 x 80% for Av.
@Jong can give you an eloquent long hand solution, but this works for me.
But the browser-based Falstad SIM can display every parameter you can think of, in real-time or slow motion.
This is what File Export link looks like...
Click the input signal switch to see DC response.
- 1
- 3
- 54
- 185
-
1Equations are just automatic writing to me. I just go into a semi-conscious state and my hand moves and equations are written. Later, I may look them over. ;) – jonk Nov 01 '20 at 05:18
-
One can simulate and perfect THD to 0.1% with perfect full swing symmetry in a matter of a minute with experience and verify the input impedance is around 500 Ohms. – Tony Stewart EE75 Nov 04 '20 at 16:47
-
I doubt @jonk ‘s simulators can do this. Export shortcuts work in comments – Tony Stewart EE75 Nov 05 '20 at 16:14
Consider the base current Ib and the collector current Ic. We know that Ic=50Ib, so 51Ib will flow through the 10k resistor. This comprises three components: firstly the current through the 100k and 33k resistors (Vc/133k) secondly the current flowing into the base ((Vc-0.5)/10k) and thirdly the collector current which is 50Ib. That gives you a couple of simultaneous equations to solve for Ib.
- 7,287
- 1
- 9
- 13
Just two KCL on V_Base and V_collector and you should know: Ic=(1+Beta)Ib and V_Base = 0.5V
two KCL are: (Vc-10)/10k + ic + (Vc-0.5)/100k = 0 and 0.5/33k + 1/((1+50)*ic) + (0.5-Vc)/100k = 0
- 101
