0

I am reading US patent number 5,159,703 titled "SILENT SUBLIMINAL PRESENTATION SYSTEM". I'm making this for a proof of concept project for a research paper I'm doing on subliminal messaging. I'm very good at assembling circuits from a schematic, but not at making the circuit.

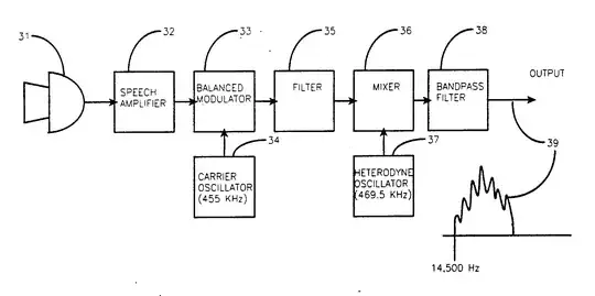
Below, I put a block diagram of this system, which is figure 3 from the patent. Some of this I can figure out on my own like 31 in this diagram (and 11 on figure 1 in the patent) is a normal microphone; 32 in this diagram (and 12 on figure 1 in the patent) can be an LM741. As for everything else, I'm having trouble with no one to ask.

Please help me with making a schematic and I'll assemble it and put up pictures of the finished project.

Block Diagram - figure 3 from the patent

SamGibson
  • 17,870
  • 5
  • 40
  • 59
  • 2
    For Pete's sake, use ANYTHING but the grotty old 741. There a billion and one opamps out there that are as cheap, but with far better performance. Single supply voltage, low voltage operation, low noise - ain't gonna get that out of a 741. – JRE Feb 11 '17 at 10:08
  • 1
    Is the research about the electronics, or about the subliminal presentation stuff? If it is about the subliminal stuff, then seriously consider using software to do the modulation and generate audio files that you can play back on any device. I like puredata for that kind of stuff because it is very much like drawing a block diagram - except that this block diagram actually works and does what the electronics would do. – JRE Feb 11 '17 at 10:12

2 Answers2

1

This circuit reverses the spectrum of the speech (high pitch becomes low and vice versa). Additionally everything is shifted to nearly 15 kHz. So something high pitched hissy whistling is available and something may be recognizable, too by people who are young enough. I have over 60 years old ears that are damaged by explosions and shooting - needs a jet to make something hearable to me even at 10 kHz.

Balanced modulator is a switch that selects the signal "as is" or the polarity inverted. Carrier oscillator 34 swaps the selection for every half cycle. An analog multiplier also is possible, if it works at 455 kHz.

The filter 35 is a bandpass one that saves maybe 20 kHz around 455 kHz. Its bandwidth is not critical - can be as well 20 or 50 kHz.

The mixer and the heterodyne oscillator are of MW radio technology, but a ring modulator or analog multiplier go as well. The bandpass filter 38 should remove everything below 14,5 kHz.

It's possible to test the idea in software simulation. I have done this kind of tests in Vissol's Vissim. It's an old product, at least 20 years. It accepts and produces WAV files if audio is needed. That company has been sold maybe 1 years ago but their product Vissim can still be available as demo in download sites or in the Wayback machine.

Actually even no speech is needed for some messages. Random high pitched noise is enough. Supermarkets and other public sites have a problem: Unwanted, non-buying people accumulate inside or at the main door and frighten the valuable customers. The owner assembles a high pitched whistler that makes the loiterers to feel the place uncomfort and go to elsewhere.

SamGibson
  • 17,870
  • 5
  • 40
  • 59
  • See also the "Mosquito" system for getting rid of pesky, truculent and rude teenagers from your business premises by way of high frequency noise. Also, thanks for enduring the explosions so I don't have to :) –  Feb 11 '17 at 14:07
0

Don't make it as a circuit, this could be easily implemented with digital signal processing in C, matlab, octave, python, simulink (esp simulink) digitally with digital filters, digital modulation, ect. Then all you would need is a sound card. Unless of this is an academic exercise and you are required to use analog electronics.

Speech amplifier: you could use opamps for that

Balanced modulator - circuit that is essentially a multiplier. Your multiplying an audio signal with a sine wave.

The filter is probably a low pass filter (usually after modulation they use a low pass filter)

This is a good article on mixers

Here are some ideas on frequency generators - A way to generate the carrier sine wave

And band pass filter - Filters out low and high frequencies

You can build each of these with analog electronics. A good way to build any analog system is to start out with a block diagram and then fill in the pieces. There are different ways to build each one so I would suggest that you research each one.

Voltage Spike
  • 82,181
  • 41
  • 84
  • 220
  • Thanks for the tip, that is funny because in this Patent which is still subliminal messaging they use a LM567 too. As for the frequency generator a lot of people suggest XR2206N chip as a frequency generator. – Patrick Poer Feb 13 '17 at 00:48
  • O sorry, I misread the IC in the Balanced Modulator for LM596. I thought it was LM567 but the one in the patent is MF-10N which is still an analog because all of this were designed in the 1980's. – Patrick Poer Feb 13 '17 at 01:08
  • Study up on op amps, op amps have bandwidth (they are kind of like low pass filters), have common mode voltage problems (inputs block certain voltage ranges), and noise among other parameters. There are probably many substitutes today that could be used that would vastly outperform 80's opamps. – Voltage Spike Feb 13 '17 at 05:46