All photos, schematics and the ltspice simulation file are in the folder.
https://drive.google.com/folderview?id=1N1yKGnoWQoaGsuHla0DwJwF36_21ZBgX
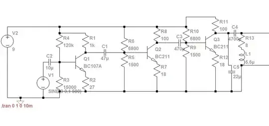
Hello!
I have made a simple class A amplifier, but it seem to be turning sine signals into square wave ones. What could be the cause of this? Is this an good design?
I added a smoothing cap in parralel and it smoothed the lower freq. and trianglelized the higher freq. I know that the transistors are pretty ancient, but I have so much of them lying around.
The photos are waveforms of the output of the amp, various frq. were fed and some are with and without the smoothing cap.
