3

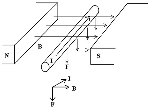
From this diagram:

enter image description here

What is the action force here, and what is the reaction force? From two references, the wire and the magnet?

*Assume the magnet being an electromagnet(air core, basically a solenoid)what is the action force it's applying and what is the reaction force? - It would be easier to think of a wire generating a magnetic field, than a magnet and it's dipole moment's and applying Newtons 3rd law to it.

I want to apply Newton's third law to systems of this nature, but it's not as direct as examples from classical mechanics

Pupil
  • 1,110

5 Answers5

5

I think a step back to a bigger picture can be helpful if you want a physical picture.

Forces cause changes in momentum and an object reacts to absolutely every single force it feels. Simply put, when a force acts on an object that object doesn't just change its momentum, it exchanges its momentum with something else.

For a contact force, the two objects can exchange momentum directly with each other. For a field mediated force, the field itself has momentum and the object exchanges momentum with that.

The third law doesn't make anything happen. It just tells us that when we make a force law, we need to include enough interactions and forces to cover that full exchange of momentum before we finish making our theory. And it can remind us not to forget a force or an interaction when doing a problem.

So for contact forces, we need the forces to be equal and opposite. And for a field theory we need the field to have, carry, and exchange momentum with objects.

So what happens is that when fields exert Forces, such as the Lorentz Force, on objects the fields have energy and momentum and they exchange energy and momentum with the objects that feel the force from the field.

When you shake a charged particle around at time $t_1$ it gains less energy and momentum than you expect because energy and momentum go into the fields. Then the energy and momentum live in the fields for a while until enough time $\Delta t$ passes for the field to reach another object with charge and then finally at time $t_2=t_1+\Delta t$ the field can give up some of that energy and momentum and deliver it to the other, originally far away, charge.

So in the mean time the energy and momentum lived in the field. And that's the true action and reaction pair, the fields acts on the charge and the charge reacts by changing the field, which then makes the field have less energy and momentum an amount equal and opposite to what the charged got from the field.

Timaeus
  • 25,523
  • So it is not the rod that is of interest rather it is the moving charges within the rod? – Farcher Jan 28 '16 at 10:43
  • @Farcher If you don't go too deep in, yes, and the electrons will in turn pull the other parts of the object with it, so you can also say the rod is of interest, since the electrons will pull the rod with it. However the latter parts of this answer is trying to convey something deeper. – busukxuan Jan 28 '16 at 17:07
  • @Timaeus in the last two paragraphs, are you describing the energy and momentum of gauge bosons like photons? You're diving so deep all of a sudden. – busukxuan Jan 28 '16 at 17:23
  • @Timaeus Does this mean that if the wire and magnets are the only matter in the magnetic field, that any change in momentum for the wire will result in a time delayed equal and opposite change in momentum on the magnets? The part I am missing is where does the momentum go in a stable system after entering the magnetic field. It can't stay in the field otherwise the momentum of the field would build indefinitely. – Andrew Mar 08 '19 at 10:39
3

The action force here is the F in the diagram, acted by the solenoid on the wire/rod. The reaction force is not drawn out in the diagram, it is an equivalently strong Lorentz force acting upwards on the solenoid by the wire/rod, because of the field produced by the wire/rod and the current in the solenoid.

Then again, the notion of reaction force is not very rigid. You may as well say the opposite, that the F in the diagram is the reaction force and the one not drawn out is the action force. E.g. when a car hits a rock and makes it roll, we humans would say "the car applies an action force on the rock so that it rolls", but why not "the rock applies an action force on the car so that it slows down"? It's all a matter of perspective, and we normally say the former only because our minds are conditioned such that we see cars as the more likely "active" agents, much like how we normally say "the car hits the rock" instead of "the rock slows/stops the car"(we normally use this when slowing/stopping the car is important, like if otherwise the car would fall over a cliff).

TL;DR, we(or at least I) would define the F in the diagram as the action force, and not the reaction force, because we(or I) got used to doing that.

Here is something related, although not exactly what you asked, but I believe may help you understand the issue at hand:
the conservation of momentum is a consequence of the third law, which in turn is a consequence of the properties of electromagnetic and gravitational forces. E.g. the equations for gravitational and electrostatic forces are
$$F_g = G\frac{Mm}{r^2}$$ $$F_e = k\frac{Qq}{r^2}$$ Both equations incorporate the relevant quantities of both objects in question, i.e. both masses in $F_g$ and both charges in $F_e$, so whichever object in a 2-body system you look at, the exact same two quantities will appear in the equation, meaning that both objects are experiencing the same magnitude of electrostatic or gravitational force. If you wonder how this also applies to everyday object collision, when two objects touch each other, they are prevented from passing through each other because the charges (mostly electrons of the objects' atoms) are repelling each other, through the electromagnetic forces. Hence, the force you feel when being hit by a ball, and the normal reaction force you feel when standing on the floor, mostly come from electromagnetic interactions between atoms and electrons, hence the "same magnitude" conclusion applies to everyday objects and collisions. Defining an agent or force as "active" will then easily lead to the conclusion that an equally strong "passive" reaction force will act back in the opposite direction.

busukxuan
  • 554
  • If we considered the magnet as an electromagnet(solenoid), the action force from the electromagnet on the wire is the Lorentz force, and the reaction force that would move the electromagnet is due to the Lorentz force from the magnetic field of the wire with the current flow of the solenoid's wires? – Pupil Jan 15 '16 at 19:37
  • 1
    You can say that. However I think in this case I would just say that "a force exists between the wire and the solenoid". In your case anyway, I don't think it is even necessary to apply the third law of motion because it is not collision. The law is only need in classical mechanics because the phenomenon cannot be explained by electromagnetic interactions, which are out of the scope of classical mechanics. – busukxuan Jan 15 '16 at 21:13
  • 1
    @XCIX I just edited the first paragraph to explain a little bit more. Not sure if it helps since you probably already understood that from the comments. Just noticed some activity back here so I came back and see, and suddenly felt it'd be better if I edited the stuff into the answer. – busukxuan Jan 28 '16 at 17:36
2

One Force is the Lorenz-Force, that you also showed. It's acting on the wire (and you might say that it originates from the magnets, although I would just say that is just the electromagnetic field, which is created by the magnets and the wire). If you look up this https://en.wikipedia.org/wiki/Magnetic_moment article, you will see that there is a force acting on magnetic dipoles, which can be described by a potential $-\vec{\mu}\vec{B} = - B \mu \cos(\theta)$. $B$ is in that case the magnetic Field that is created by the wire. Since the $B$-Field that the wire creates is curved (above the wire it is horizontal from north to south, below it is the opposite direction), this "potential" is minimized for the magnet being above the wire. Result: There is a force lifting up the magnets, and that is the reaction-force that you are looking for.

Some points to mention though: I wrote "Potential" all the time with the marks"", because it has the wrong sign to contribute to the energy of the system. It is just a potential in a way that you can use it to describe the force that a magnetic field acts on a magnetic dipole-moment. If you want to know where this force comes from microscopically, then you have to know that dipole moments (that magnets consist of) are either charged particles that are flying in circles (and that the lorenz force acts uppon) or they are charged particles with spin, because of which quantum mechanics demands them to feel this force uppon them.

Quantumwhisp
  • 6,733
  • 2
  • 19
  • 50
2

Please answer the point where the magnet is a solenoid(core-less), and what is the action/reaction force on the wire.

This is a two wire current carrying situation which in effect is a two streams of moving charges interaction.

So the action and reaction are the forces on particles in stream 1 due to stream 2 and the forces on particles in stream 2 due to stream 1.

The problem which now arises is as to the form of the interaction.
Classically it would be via a magnetic field because the electric field effect due to all the charges averages out to be zero.

Relativistically a moving charge in one of the streams "sees" the moving charges in the other stream differently from what one might expect classically. This then leads to an interaction which is via an electric field.

Farcher
  • 95,680
  • exactly like this situation: physics.brocku.ca/PPLATO/h-flap/phys4_3f_9.png classical point of lorentz force on two wires – Pupil Jan 29 '16 at 21:39
1

I believe I have an answer that is a little unconventional.

First, recognize that magnetic forces are a little odd. Ferromagnetic and paramagnetism are actually quantum mechanical and can be derived from spin properties (see for example States of Matter, Goodstein). In practice, they are measured macroscopically.

Since you don't have a description of the materials, I'll presume for now that the wire is copper and its ferromagnetic and paramagnetic properties are inconsequential.

So the question is: what force are you applying and what reaction do you think you are seeing?

If a wire is moving at a constant speed through a magnetic field, there is no acceleration and therefore no force is applied and no reactionary force. Current does flow as a consequence of the magnetic field.

If the wire has resistance, then work is being done by the flow of current:

  • P = I x V
  • V = I x R
  • W = U = P x t

Therefore, there must be energy expended over a finite time period. The work must be "reacted" by the mechanical energy expended into moving the wire.

  • F = m x a
  • W = F x s

Since energy is conserved, the force can be derived by setting the energy expended mechanically to the electrical energy in the "circuit". With some addition information (acceleration of the wire, electrical resistance of the wire) a proper integral can be formed and the mechanical force can be calculated.

I seem to remember seeing an experiment of this nature. I believe the electrical energy is generally quite low making the force difficult to measure.

  • Well, let's consider a very simple set-up to apply the concept of action and reaction: A wire placed near to a solenoid(core-less to neglect the ferromagnet's dipoles), when current flows in both the solenoid and the wire, the magnetic fields $B_w$ and $B_s$ are created. I believe the action force(from the perspective/view of the solenoid)is the wire experiencing a Lorentz force and accelerated towards a certain direction, likewise due to the magnetic field of the wire it will generate a "reaction" force on the solenoid.If we consider it from view of the wire, it's vice versa. I think... – Pupil Jan 27 '16 at 22:44