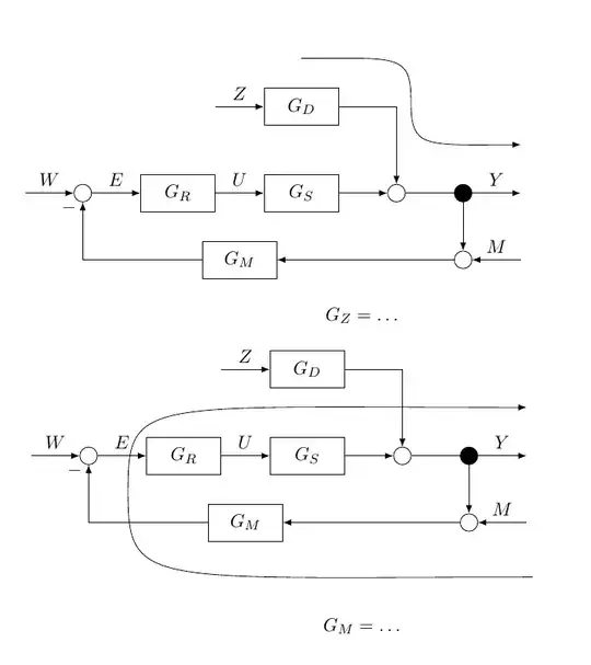
MWE:
\documentclass{scrartcl}
\usepackage{tikz}
\usetikzlibrary{positioning}
\tikzset{
signal/.style = coordinate,
sum/.style = {
draw,
circle,
minimum size = 2mm
},
block/.style = {
draw,
rectangle,
minimum height = 2em,
minimum width = 4em
},
branch/.style = {
sum,
minimum size = 1mm,
fill = black
}
}
\begin{document}
\begin{tikzpicture}[auto]
%placing the nodes
\node[signal] (input) {};
\node[sum, right = of input] (left sum) {};
\node[block, right = of left sum] (controller) {$G_R$};
\node[block, right = of controller] (system) {$G_S$};
%connecting the controller and system to get the coordinates of u, its needed for the placement of the measurement block
\draw
[->] (controller) -- node[name = u] {$U$} (system);
\node[block, above = of system] (dynamic of disturbances) {$G_D$};
\node[signal, left = of dynamic of disturbances] (disturbances) {};
\node[sum, right = of system] (right sum) {};
\node[branch, right = of right sum] (branch) {};
\node[signal, right = of branch] (output) {};
\node[sum, below = of branch] (lower sum) {};
\node[signal, right = of lower sum] (measurement noise) {};
\node[block] (measurement) at (u |- lower sum) {$G_M$};
%connecting the nodes
\draw
[->] (input) -- node {$W$} (left sum);
\draw
[->] (left sum) -- node {$E$} (controller);
\draw
[->] (system) -- (right sum);
\draw
[->] (disturbances) -- node {$Z$} (dynamic of disturbances);
\draw
[->] (dynamic of disturbances) -| (right sum);
\draw
(right sum) -- (branch);
\draw
[->] (branch) -- node {$Y$} (output);
\draw
[->] (branch) -- (lower sum);
\draw
[->] (measurement noise) -- node[above] {$M$} (lower sum);
\draw
[->] (lower sum) -- (measurement);
\draw
[->] (measurement) -| node[pos = .95] {$-$} (left sum);
%path from Z to Y
\node[above of = dynamic of disturbances] (above G_D) {};
\node[right of = above G_D] (corner above right sum) {};
\node[above of = branch] (above branch) {};
\node[above of = output] (above output) {};
\draw
[->] (above G_D) .. controls (corner above right sum) and (above branch) .. (above output);
\end{tikzpicture}
\[G_Z=\ldots\]
\begin{tikzpicture}[auto]
%placing the nodes
\node[signal] (input) {};
\node[sum, right = of input] (left sum) {};
\node[block, right = of left sum] (controller) {$G_R$};
\node[block, right = of controller] (system) {$G_S$};
%connecting the controller and system, see above
\draw
[->] (controller) -- node[name = u] {$U$} (system);
\node[block, above = of system] (dynamic of disturbances) {$G_D$};
\node[signal, left = of dynamic of disturbances] (disturbances) {};
\node[sum, right = of system] (right sum) {};
\node[branch, right = of right sum] (branch) {};
\node[signal, right = of branch] (output) {};
\node[sum, below = of branch] (lower sum) {};
\node[signal, right = of lower sum] (measurement noise) {};
\node[block] (measurement) at (u |- lower sum) {$G_M$};
%connecting the nodes
\draw
[->] (input) -- node {$W$} (left sum);
\draw
[->] (left sum) -- node {$E$} (controller);
\draw
[->] (system) -- (right sum);
\draw
[->] (disturbances) -- node {$Z$} (dynamic of disturbances);
\draw
[->] (dynamic of disturbances) -| (right sum);
\draw
(right sum) -- (branch);
\draw
[->] (branch) -- node {$Y$} (output);
\draw
[->] (branch) -- (lower sum);
\draw
[->] (measurement noise) -- node[above] {$M$} (lower sum);
\draw
[->] (lower sum) -- (measurement);
\draw
[->] (measurement) -| node[pos = .95] {$-$} (left sum);
%path from M to Y
\node[below of = measurement noise] (below M) {};
\node[below of = input] (below W) {};
\node[above of = input] (above W) {};
\node[above of = output] (above output) {};
\draw
[->] (current bounding box.south east) .. controls (current bounding box.south west) and (current bounding box.north west) .. (above output);
\end{tikzpicture}
\[G_M=\ldots\]
\end{document}
Result:
I wish that the curves following the figures, without getting the code to complicated, example:
Also see my releated question, which continues this one.
Thank you for your help and effort in advance!






